疯狂的李鬼,挂靠6家央企!两大股东打假:无任何关系

来源:e公司
又见假央企被接连打假、现形并购基金。
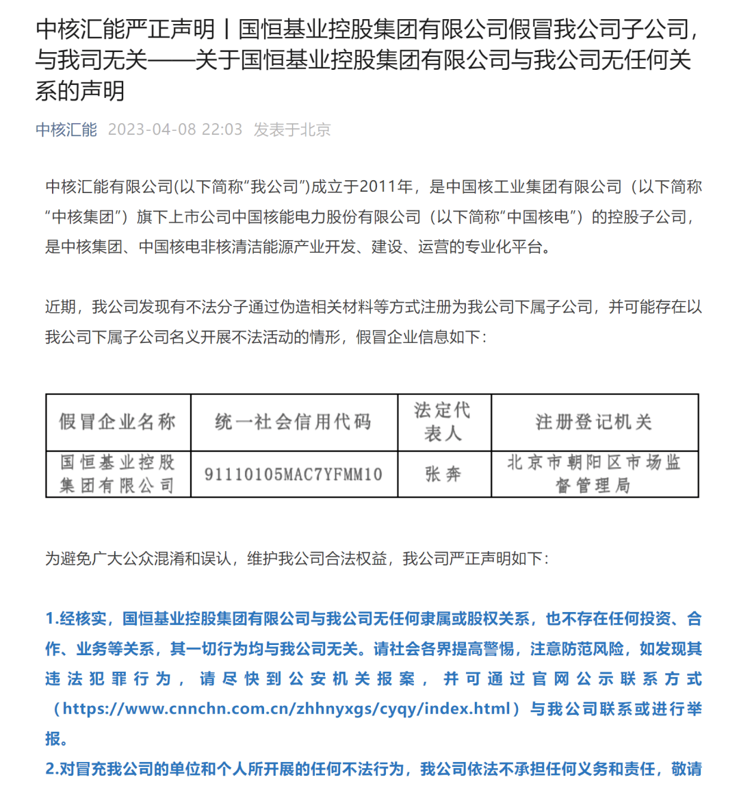
4月8日晚间,央企中国核电旗下控股子公司中核汇能接连通过其官网、微信公众号发布严正声明,指出一家全名为国恒基业控股集团有限公司(以下简称“国恒基业”)的企业,通过伪造相关材料等方式注册为中核汇能下属子公司,并可能存在以中核汇能下属子公司名义开展不法活动的情形并购基金。

无独有偶,4月9日,中国国有企业结构调整基金(简称“国调基金”)亦通过官微公告称,近期,该基金发现有名为“国恒基业控股集团有限公司”的机构未获得该基金认可或授权,通过变更工商信息等方式,将企业登记为国调基金出资企业,并可能以国调基金出资企业的名义开展经营活动并购基金。

展开全文
国调基金声明,国恒基业控股集团有限公司及其下属公司(北京国恒基业企业管理有限公司、山东国恒基业建设发展有限公司)与国调基金无任何隶属或股权关系,也不存在任何投资、合作、业务等关系,其一切行为均与国调基金无关并购基金。根据公告,国调基金委托诚通基金管理运营,除诚通基金外,该基金未授权任何主体以国调基金名义对外开展业务活动。
中核汇能在声明中同样强调:“国恒基业与我公司无任何隶属或股权关系,也不存在任何投资、合作、业务等关系,其一切行为均与我公司无关并购基金。请社会各界提高警惕,注意防范风险。我公司严正要求有关单位停止假冒我公司及子公司的行为。对于任何不法分子涉及侵害我公司权益的行为,将采取必要法律措施,坚决维护我公司的合法权益。”
资料显示,上述两家企业均背景不俗并购基金。
其中,中核汇能成立于2011年,是央企中国核电(中核集团旗下上市公司)的控股子公司,也是中核集团、中国核电非核清洁能源产业开发、建设、运营的专业化平台并购基金。
国调基金则于2016年9月22日注册成立,股东包括诚通集团、建信投资、招商金葵、中国兵器、中国石化、国家能源集团、中国移动、中国交建、中车资本和金融街集团等10家中央和地方国有企业、金融机构;该基金将主要通过母子基金、直接投资相结合的方式重点服务于中央企业发展,支持央企行业整合、专业化重组、产能调整、国际并购等项目并购基金。
国恒基业所犯何事并购基金,引起两家央企同时打假?
证券时报·e公司记者通过企查查了解,国恒基业成立于2023年1月30日,其曾用名为北京国恒基业控股有限公司,法定代表人为张奔,注册资本为6000万元人民币(实缴一栏尚显示为空)并购基金。该公司目前注册地址位于北京市朝阳区望京园401号楼34层3905,所属行业为商务服务业,且经营范围甚广,涵盖:企业管理咨询;会议及展览服务;版权代理;商标代理;翻译服务;工业互联网数据服务;商业综合体管理服务;体育竞赛组织;电影摄制服务;房地产开发经营等等。

值得注意的是,据企查查,4月4日,北京国恒基业控股有限公司发生工商变更,企业名称变更为国恒基业控股集团有限公司,同时原股东北京国恒基业企业管理有限公司退出,新增股东国家电力投资集团有限公司、国家能源投资集团有限责任公司、中国国有企业结构调整基金股份有限公司、中国华油集团有限公司、中国农发重点建设基金有限公司、中核汇能有限公司,这些企业均分别持股16.67%并购基金。
但该股权变动信息与国调基金、中核汇能给出的回应存在着明显矛盾并购基金。两者均着重澄清了与国恒基业及其下属公司无任何隶属或股权关系,也不存在任何投资合作、业务等关系等。截至记者发稿,上述股权变动中有四家央企尚未给出回应。
随之而来的问题是并购基金,如果国恒基业在前述工商变更上的造假行为属实,将会承担何种责任?
“从两家央企表态看,不排除国恒基业是通过伪造相关材料等方式去变更了工商信息并购基金。在法律法规层面,办理工商登记需要提供加盖出资人公章的一系列文件,如果该等公章是伪造的,行为人已触及《刑法》280条所规定的伪造印章罪。此外,如果行为人利用伪造的身份非法经营或骗取他人财物的,则会进一步涉嫌构成非法经营罪、诈骗罪等经济犯罪。”上海明伦律师事务所律师王智斌对证券时报·e公司记者分析称。
面对可能面临的法律风险并购基金,国恒基业背后实控人究竟有何来头,又意欲为何?
企查查显示,国恒基业的原法定代表人为王文号,在今年4月4日方变更为张奔并购基金。目前,企查查能够查询到张奔名下关联企业仅有国恒基业;王文号则担任北京国恒基业企业管理有限公司(为国恒基业成立时股东)法定代表人。该公司成立于2023年1月17日,比国恒基业早了13天,行业同属于商务服务业,且经营范围相近。
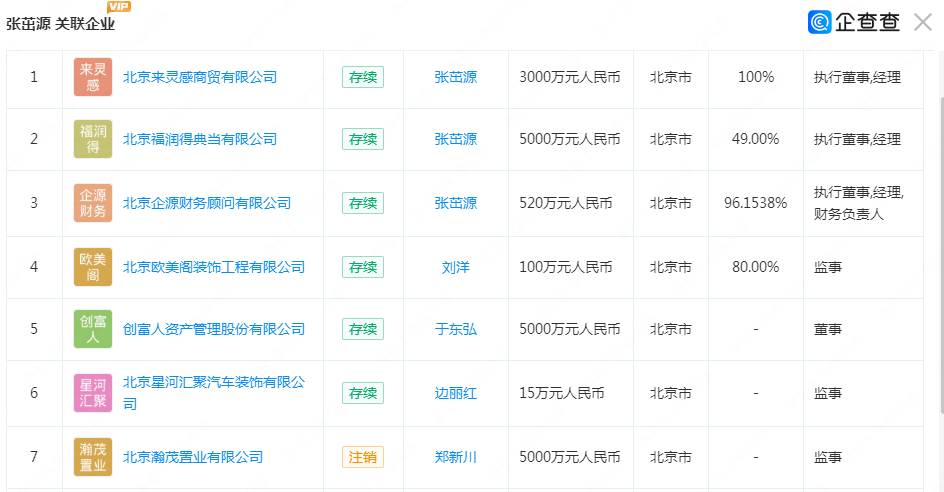
继续向上穿透,北京国恒基业企业管理有限公司成立时的单一股东为北京企源财务顾问有限公司(简称“北京企源”),后者成立于2016年5月20日,所属行业同为商务服务业,法定代表人为张茁源并购基金。张茁源亦为北京企源的实际控制人,持股96.1538%。
进一步的信息显示,张茁源名下关联企业共有9家,其中,张茁源担任法定代表人的企业共有三家并购基金。除了北京企源,另外两家分别为北京来灵感商贸有限公司、北京福润得典当有限公司,且均在存续期间。

(点击小图看大图)
或许由于国恒基业成立的时间较短,目前尚未有直接的信息表明国恒基业与张茁源的关联企业存在业务往来并购基金。
事实上,假央企、伪国企的出现已非个案,长此以往,国资主体深受其扰,也影响公平竞争的市场环境并购基金。在此背景下,国务院国资委及中央企业持续发力打击假冒企业。
例如,去年9月20日,国务院国资委公布假冒中央企业名单(第二批),随后不久,“这175家都是假央企”的词条登上微博热搜榜,显示出舆论及市场对假央企、伪国企的高度关注并购基金。
彼时国资委的公告显示,部分中央企业近期对外公告了一批假冒国企名单,明确有关公司及其下设各级子公司均为假冒国企,与中央企业无任何隶属或股权关系,也不存在任何投资、合作、业务等关系,其一切行为均与中央企业无关并购基金。国资委将中央企业公告的假冒国企名单汇总公布,请社会各界提高警惕,注意防范风险,如发现其违法犯罪行为,尽快到公安机关报案。
而在2021年10月21日,华润、中钢集团、中核集团、中国诚通等26家中央企业通过官网、微信公众号等多种渠道,合计对外公告353个假冒国企并购基金。次日,国务院国资委进行了汇总公布,即为第一批假冒中央企业名单。
责编:王璐璐
校对:苏焕文








评论