“澳门COCO姐”月售250万元的虫草内裤,背后相关公司0人参保
近日,自称“男装一姐”的“澳门COCO姐”火了币加所交易平台。其直播间采用爱马仕配色的装潢、背景板站着的是外国男模般的助播人员,用礼盒包装卖出价格为个位数的低价商品。
也许是极大的反差感和极高的情绪价值推动,据公开数据,8.8元两条的虫草内裤、17块三条的人参内裤、9.9元的金色奥特曼手办等商品在“澳门COCO姐”直播间月销售额都超过了250万元币加所交易平台。
飞瓜数据显示,10月16日19点到10月17日凌晨2点的一场直播,五分钟的讲解,8.8元两条的虫草内裤卖出了10-25万的销售额币加所交易平台。

截图自飞瓜数据
LOGO和品牌不统一
虫草成分“具有透气吸汗作用”
红星资本局注意到,“澳门COCO姐”直播间的虫草内裤被称为“BB”品牌,内裤上有多个BB、BRAELF(巴莱尔)LOGO,与其售卖的男装属同一品牌币加所交易平台。
10月24日,红星资本局在视频平台搜索“虫草内裤”,看到店铺“COCO永利内裤3号店”(该店铺主理人为“澳门COCO姐”)在售卖与澳门COCO姐直播间几乎无差别的虫草内裤,该内裤在宣传页展示里也有很多BB、BRAELF(巴莱尔)的LOGO,但客服称其为“贵茨”品牌币加所交易平台。红星资本局咨询为何不是直播间所称的BB或BB BRAELF(巴莱尔)品牌,对方表示“没有”。

展开全文
左图截自COCO永利内裤3号店的虫草内裤详情页币加所交易平台,右图截自该商品的产品参数
评论区有不少消费者表示是从直播间来的币加所交易平台。有消费者评价称“质量不用说真的没有路边摊的好,拆开后就是一股刺鼻的味道”,还有消费者评价称“这内裤没有一点棉,而且太薄!不要太相信直播间的夸大宣传”“虚假宣传100%棉”。

截图自虫草内裤评价页
红星资本局两次咨询该店客服是否为纯棉的,对方先是表示“纯棉”,后来又撤回了消息,表示是“纤维面料的”币加所交易平台。据该内裤产品参数介绍,面料材质为95%的聚酯纤维和5%的氨纶。该商品在店铺中显示已售12.5万元,售价为99元两条。在“澳门COCO姐”直播间里该内裤售价为8.8元两条。
该内裤详情介绍页里表示是虫草内档,含虫草成分币加所交易平台。据多家媒体视频报道,“澳门COCO姐”在介绍虫草内裤时表示“满满的虫草精华”。客服则称虫草成分“具有透气吸汗作用”。
客服提到的贵茨品牌,红星资本局搜索发现,在电商平台上主要售卖磁石男士内裤,其产品涉及与包装风格与“澳门COCO姐”提到的BB品牌虫草内裤类似币加所交易平台。
“澳门COCO姐”深度绑定的BB品牌
背后相关公司0人参保
红星资本局注意到,在电商平台“香港贵茨服饰”店中,还售卖了带着“AEZA”LOGO的虫草内裤,而AEZA品牌与BB BRAELF品牌的官网为同一公司注册的网站,该公司名为广州一粒尘埃传媒有限公司币加所交易平台。
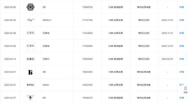
天眼查数据显示,广州一粒尘埃传媒有限公司成立于2015年12月,注册地址在广州市白云区江高镇凤翔中路63号币加所交易平台。该公司注册了包含BB、BRAELF、巴莱尔等一系列商标。2023年,该公司注册了26个商标,远超前几年商标注册数量,BB、BRAELF、巴莱尔等便是在2023年注册的。广州一粒尘埃传媒有限公司子公司广州纪元品牌设计有限公司则于2021年注册了“BB”服装鞋帽类商标。

截图自天眼查
值得注意的是,“澳门COCO姐”与BB品牌深度绑定币加所交易平台。飞瓜数据显示,她的直播间BB品牌销售占比达67.85%,账号橱窗里也仅有BB品牌男装展示。

截图自飞瓜数据
据天眼查,广州一粒尘埃传媒有限公司2023年年报显示,员工人数及参保人数均为0人,其子公司广州纪元文化投资有限公司还因定作合同纠纷成为了被执行人,执行金额为16.19万元币加所交易平台。
(红星新闻)








评论